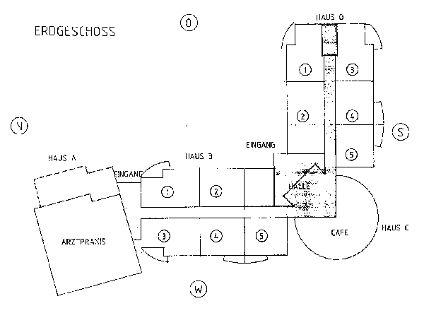
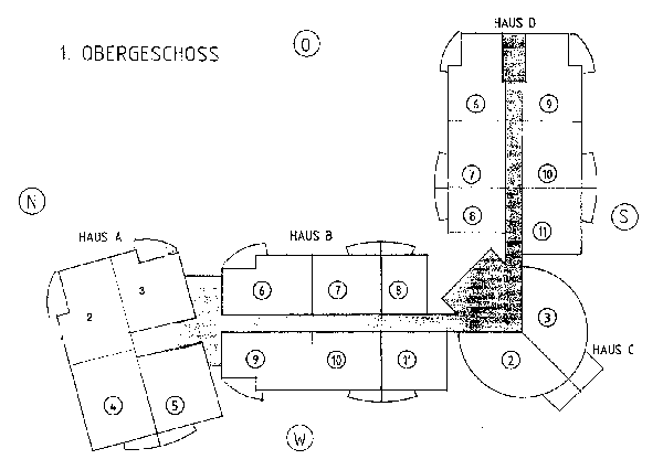
» Übersicht
Die Wohnungen sind attraktiv und praktisch geschnitten. Als Beispiel finden Sie hier die Übersichtspläne des Gebäudes.
----------------------------------------------------------------------------------------------------------------------------
